Torreón de la Nava. InicioWEB personal con 45.972 páginas, 202.461 imágenes
 Inicio 
 Sitios 
 Setas 
 Otras 
Sitios > Europa > Unión Europea > España > Andalucía > Provincia de Jaén > Castillo de Locubín
Torreón de la Nava
Castillos y murallas
ImprimirInformaciónMandar
Torreón de la Nava - Torreón de la Nava. PlanoSiguiente
Plano
Torreón de la Nava. PlanoTorreón de la Nava. Torreón de la Nava.
Torreón de la Nava. Torreón de la Nava. Torreón de la Nava.
Torreón de la Nava. SaeteraTorreón de la Nava. Restos de matacanesTorreón de la Nava. Butrón
Torreón de la Nava. Torreón de la Nava. BóvedaTorreón de la Nava. Puerta de acceso
Torreón de la Nava. Torreón de la Nava. PisoTorreón de la Nava.
Torreón de la Nava. Comunicación visual con Alcalá la RealTorreón de la Nava. Puerta de accesoTorreón de la Nava.
Torreón de la Nava. VistasTorreón de la Nava. Desde la CamuñaTorreón de la Nava. Puerta
Torreón de la Nava. BóvedasTorreón de la Nava. Bóveda del piso bajoTorreón de la Nava. Puerta
Torreón de la Nava. Bóveda del piso altoTorreón de la Nava.
Escucha este texto[Escucha este texto]
  • También conocida como Torre del Puerto.
  • El acceso a la torre es una puerta elevada a 4 metros de altura
  • La entrada se encuentra orientada al E. a media altura.
  • Está desmochada y alcanza casi los 9 m. de altura.
  • La fábrica es de sillarejo.
  • Está deteriorada en su base por el expolio de sillares
  • No aparecen materiales en superficie que permitan fechar con exactitud su construcción
  • Publicado en BOJA en 1/8/86.
  • Declarada Bien de Interés Cultural.
  • En el borde de un afloramiento rocoso de importante desnivel sobre el Cerro La Nava.
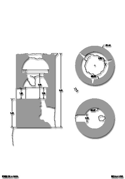
  • De cuerpo cilíndrico recto (diámetro 4,33 m.) es maciza hasta una altura de 3,40 m. (poco, en consideración con otras similares, pero lógico al situarse la entrada sobre el precipicio).
  • Ejemplo singular de torre con doble sala cupulada superpuesta, alcanzando una altura vacía de aproximadamente 5,10 m.
  • La sala inferior contiene la ventana-puerta al E y tiene un diámetro de 2,53 m.
  • La sala superior, conformada casi en su totalidad por la cúpula, tiene un diámetro de 3,33 m. y está iluminada por tres saeteras equidistantes de pequeña dimensión.
  • En su origen, las dos salas debieron estar comunicadas por el centro, pues no aparecen restos de escaleras en el muro.
  • En la construcción de esta torre se utilizó, junto a la piedra, el ladrillo, del que quedan algunos restos en las salas.
  • De la coronación no quedan vestigios, aunque aparecen fragmentos de modillones de pequeña dimensión situados en ejes perpendiculares situados a 8,84 m. sobre el nivel de arranque.
  • Existe una importante perforación posterior al NO que da acceso hasta el nivel de la primera sala.
  • Acceso difícil, a pie por el roquedo.
  • A 1054 m. de altitud.
  • Código PIA 230260007.

Contadores
Página confeccionada por Francisco Miguel Merino Laguna
Ver 2-20042301